📚
Все вопросы
-
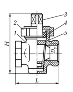
Запорная арматура, представленная на рисунке, называется...
#1781
-
Запорная арматура, представленная на рисунке, называется...
#1782
-
Запорная арматура, представленная на рисунке, называется...
#1783
- Изменение тепловой нагрузки, путем изменения температуры сетевой воды, называется... #1784
- Изменение тепловой нагрузки, путем изменения расхода сетевой воды, называется... #1785
- Изменение тепловой нагрузки, путем изменения длительности работы, называется... #1786
- Изменение тепловой нагрузки, путем изменения расхода и температуры сетевой воды, называется... #1787
-
На рисунке показан температурный график регулирования тепловой нагрузки методом...
#1788
-
На рисунке показан температурный график регулирования отопительной нагрузки методом...
#1789
-
На рисунке показан температурный график регулирования отопительной нагрузки методом...
#1790