znaet znaetguru
Курсы Команда FAQ Контакты
Авторизация
Курсы FAQ Контакты О нас Авторизация
📚

Все вопросы

  • Основными принципами термогазодинамики являются законы сохранения … и массы #1151
  • При каком значении отношения температурный напор рассчитывается как среднеарифметический Изображение #1152
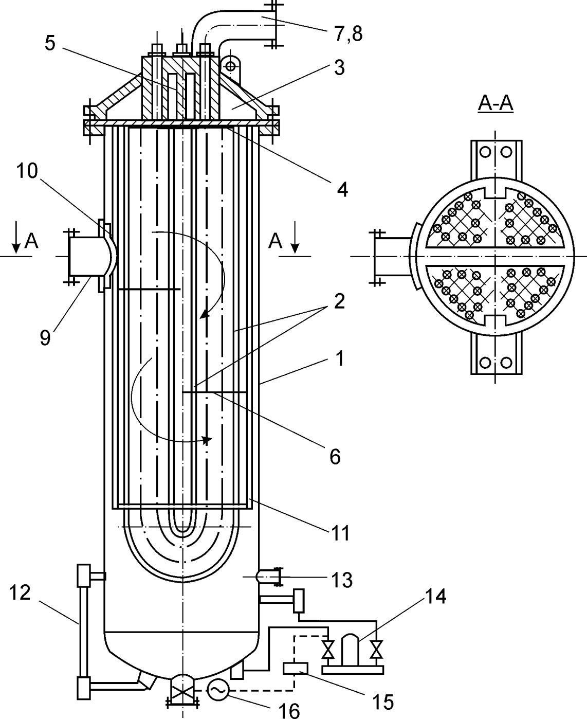
  • На изображении под цифрой 2 обозначена … Изображение #1153
  • На изображении цифрой 4 обозначена … Изображение #1154
  • На изображении цифрой 2 обозначается … Изображение #1155
  • На изображении числом 18 обозначеается … Изображение #1156
  • На изображении цифрой 8 обозначается … Изображение #1157
  • На изображении числом 14 обозначается … Изображение #1158
  • На изображении числом 10 обозначается … Изображение #1159
  • На изображении цифрой 3 обозначается … Изображение #1160
« 1 ... 114 115 116 117 118 ... 127 »
znaet znaet.guru © 2025 Все права защищены
Курсы Команда Политика Условия FAQ Контакты