📚
Все вопросы
-
На изображении конструкции теплообменника воздушного охлаждения числом 13 обозначается …
#1181
-
На изображении показана круглая труба с … ребрами
#1182
-
На изображении показана круглая труба с … ребрами
#1183
-
На изображении показана круглая труба с … ребрами
#1184
-
На изображении конструкции промежуточного воздухоохладителя цифрой 3 обозначается …
#1185
-
На изображении конструкции промежуточного воздухоохладителя цифрой 1 обозначается …
#1186
-
На изображении конструкции промежуточного воздухоохладителя цифрой 5 обозначается …
#1187
-
На изображении приведена формула для расчета коэффициента … газо-газовых теплообменных аппаратов
#1188
-
На изображении приведена формула для расчета коэффициента … при движении газового потока внутри труб и каналов
#1189
-
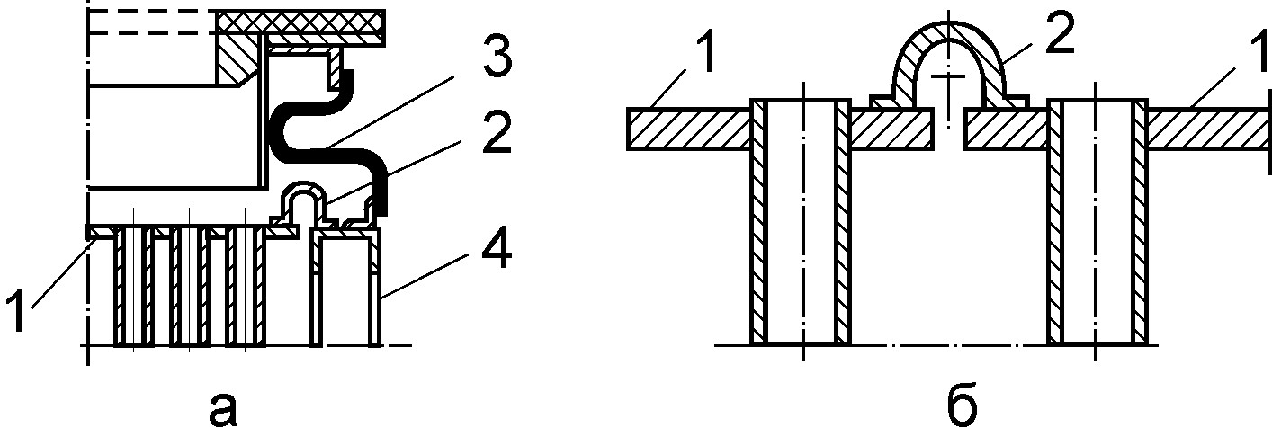
На изображении конструкции промежуточного воздухоохладителя цифрой 2 обозначен компенсатор теплового расширения …
#1190