📚
Все вопросы
-
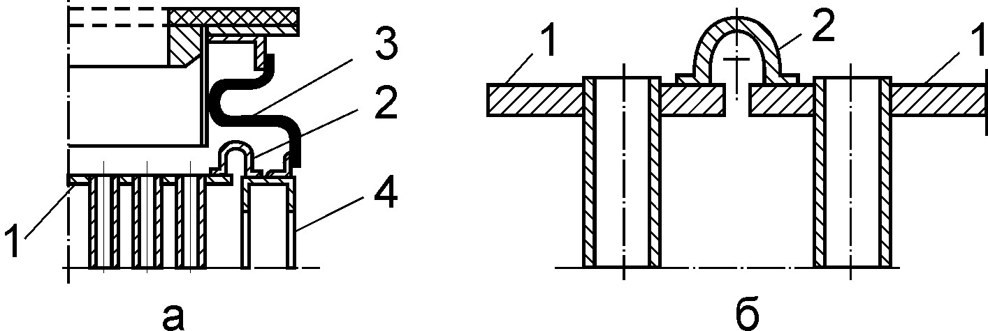
На изображении конструкции промежуточного воздухоохладителя цифрой 3 обозначен компенсатор теплового расширения …
#1191
-
На изображении конструкции одновальной газотурбинной установки с установленным воздухоподогревателем цифрой 1 обозначен …
#1192
-
На изображении конструкции одновальной газотурбинной установки с установленным воздухоподогревателем цифрой 2 обозначен …
#1193
-
На изображении конструкции одновальной газотурбинной установки с установленным воздухоподогревателем цифрой 3 обозначен …
#1194
-
На изображении конструкции одновальной газотурбинной установки с установленным воздухоподогревателем цифрой 8 обозначен …
#1195
-
На изображении конструкции одновальной газотурбинной установки с установленным воздухоподогревателем цифрой 4 обозначается …
#1196
-
На изображении конструкции одновальной газотурбинной установки с установленным воздухоподогревателем цифрой 5 обозначается …
#1197
-
На изображении конструкции одновальной газотурбинной установки с установленным воздухоподогревателем цифрой 6 обозначается …
#1198
-
На изображении конструкции одновальной газотурбинной установки с установленным воздухоподогревателем цифрой 7 обозначается …
#1199
-
На изображении стеклянного воздухоподогревателя цифра 4 обозначает …
#1200